The HJ0625 Spark Ignition Test Equipment is a high-precision environmental simulation device designed to evaluate the flame resistance of flexible heating appliances (e.g., electric blankets) under extreme conditions. Compliant with GB4706.8, IEC60335-2-17, and GB4706.99-2009 standards, it ensures reliable testing of arc-induced ignition risks, critical for product safety certification.
Item No. :
HJ0625Minimum Order Quantity (MOQ) :
1 SetPayment Method :
L/C, T/TPrice :
NegotiatableProduct Origin :
ChinaSupply Ability :
10 Set per monthLead Time :
90 DaysConventional packaging :
PlywoodEnvironmental Simulation Test Equipment 0-15KV Spark Ignition Tester for Flexible Heating Appliances IEC/GB Compliant Flame Resistance Analyzer
Product Introduction
The HJ0625 Spark Ignition Test Equipment simulates real environmental stresses and is used to evaluate whether flexible electric heating products ignite or overheat under high voltage arcs. The system consists of a control cabinet, heating chamber and adjustable test stand, providing precise voltage output (0-15KV), temperature control (0-200°C) and automatic timing functions, meeting global safety standards.
Key Features
Multi-Standard Compliance: Aligns with GB4706.8 Clause 30.101.1, IEC60335-2-17, and GB4706.99-2009.
High Voltage Precision: 0-15KV adjustable output with ≤100V drop under 1mA short circuit.
Temperature Simulation: Heated chamber (0-200°C ±1°C) replicates extreme operating conditions.
Durable Electrodes: Φ3mm brass electrodes with ±0.1mm spacing accuracy.
Automated Timing: Records ignition time (0-9999s) and flame spread duration.
Insulated & Heat-Resistant Components: Stainless steel, brass, and hardwood construction.
User-Friendly Interface: Pre-settable test duration and real-time data tracking.
International Standards
GB4706.8: Clause 30.101.1 (Fig. 113/113a) – Testing for arc-induced ignition in flexible heating appliances.
GB4706.99-2009: Safety requirements for heat-storage electric hand warmers.
IEC60335-2-17: Household appliance safety standards for heating devices.
Applications
Testing Objects: Electric blankets, heat-storage hand warmers, flexible heating pads.
Test Items:
Flame ignition time (≤3s acceptable).
Maximum combustion duration.
Electrode arc stability under high voltage.
Material heat resistance at 65±2°C.
Technical Parameters (Table)
|
Parameter |
Specification |
|---|---|
|
Output Voltage |
0-15KV AC, sinusoidal |
|
Short-Circuit Current |
≤1mA (100V drop) |
|
Electrode Spacing |
6±0.1mm |
|
Electrode Material |
Φ3mm brass (fixed/movable) |
|
Heating Chamber Temperature |
0-200°C (±1°C) |
|
Timing Range |
0-9999s |
|
Test Platform Material |
Insulated heat-resistant polymer |
|
Electrode Adjustability |
0-100mm vertical travel |
|
Compliance Standards |
GB4706.8, GB4706.99, IEC60335-2-17 |
|
Power Supply |
220V/50Hz |
|
Data Recording |
Ignition time, flame spread duration |
|
Chamber Dimensions |
Customizable (standard 500x500x500mm) |

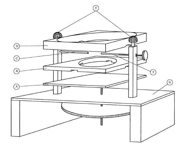
A: Adjustable platform 100X100mm, adjustable stroke 0-100mm, made of insulating heat-resistant material
B: Lower template, made according to standard requirements, hardwood
C: Fixed electrode, φ3mm, top cone angle 45°, made of brass
D: Upper template, made according to standard requirements, hardwood or aluminum
E: Terminal: Copper
F: Moving electrode: φ3mm, cylinder, top is flat, made of brass, the distance between electrodes is adjustable 6±0.1mm;
G: Base: made of insulating heat-resistant material
Quality After-Sales Service
12-month warranty with lifetime technical support.
Free remote calibration guidance and troubleshooting.
Spare parts availability (electrodes, templates, sensors).
Hot Tags :